找回密码
 立即注册
澳门威尼斯人
U8
U18
海燕招商
A
蓝盾
e世博
islot.
申博亚洲
澳门银河
B
腾博会
德信
C级广告商
吉祥坊
查看: 1338|回复: 94

[彩票] 晚上的彩票非常顺利收米390多块钱

[复制链接]

65

主题

2730

回帖

2260

金币

银牌会员

积分
11403

老会员

发表于 2026-3-14 18:41 | 显示全部楼层 |阅读模式

马上注册,结交更多好友,享用更多功能,让你轻松玩转社区。

您需要 登录 才可以下载或查看,没有账号?立即注册

×
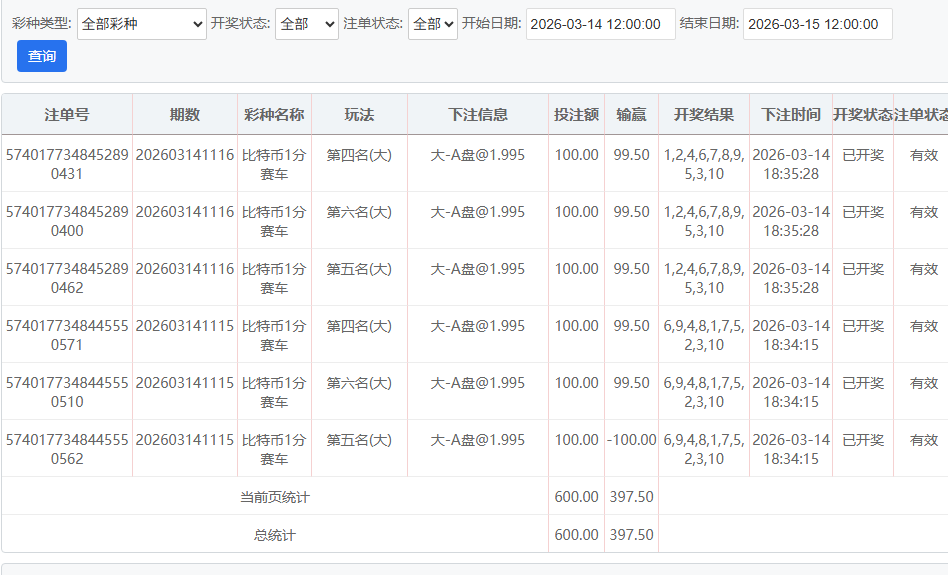
晚上的比特赛车居然能顺利赢到390多块钱,依旧是按100-200-300-450-600的节奏来下注。; B4 V5 _: `5 X. C$ I" K* o! _
1.jpg
3 I* h4 n6 H, {8 N6 T4 I. }" d) P: Q5 u 2.jpg
. X* _6 d4 i* s5 c0 D" O/ {
  w( W9 d1 F8 }2 c. I; g4 n! I: v

4 R4 u4 a( ^. M& Q6 s
+ J; m, F: K( }& e8 q

评分

参与人数 1金币 +6 收起 理由
海燕RG + 6 实战分享

查看全部评分

回复

使用道具 举报

214

主题

1万

回帖

2237

金币

千足金牌会员

积分
44804

老会员

发表于 2026-3-14 19:58 | 显示全部楼层
楼主玩彩票游戏非常有策略,更多结果来看也是有效果收获
回复 支持 反对

使用道具 举报

4

主题

141

回帖

773

金币

高级用户

积分
2003
发表于 2026-3-14 20:06 | 显示全部楼层
还是楼主高啊,这场令人满意   
回复 支持 反对

使用道具 举报

8

主题

2万

回帖

5790

金币

铂金用户

积分
72396

光影行者

发表于 2026-3-14 20:38 | 显示全部楼层
这节奏稳得一批,小步慢跑不贪真能扛住波动,下次试试前几轮压更轻点
回复 支持 反对

使用道具 举报

4

主题

9407

回帖

4898

金币

金牌会员

积分
37479
发表于 2026-3-15 02:24 | 显示全部楼层
比特赛车按那阶梯节奏下居然收了390多,顺的时候这注码走得还挺稳啊
回复 支持 反对

使用道具 举报

1589

主题

8万

回帖

2万

金币

海燕硕士

积分
262614

万时之王老会员精华勋章勤奋勋章交易勋章光影行者

发表于 2026-3-15 05:48 | 显示全部楼层
楼主也是非常给力的收米了,非常满意的成绩
回复 支持 反对

使用道具 举报

1589

主题

8万

回帖

2万

金币

海燕硕士

积分
262614

万时之王老会员精华勋章勤奋勋章交易勋章光影行者

发表于 2026-3-15 05:48 | 显示全部楼层
蔬菜沙拉 发表于 2026-3-14 20:38
; f2 c/ Z# p+ z8 E- O7 H# {这节奏稳得一批,小步慢跑不贪真能扛住波动,下次试试前几轮压更轻点
2 Y- E% N3 z/ x% E* ~
我们都是非常喜欢这样的盈利,要祝贺一下楼主的
回复 支持 反对

使用道具 举报

1589

主题

8万

回帖

2万

金币

海燕硕士

积分
262614

万时之王老会员精华勋章勤奋勋章交易勋章光影行者

发表于 2026-3-15 05:48 | 显示全部楼层
思维认知 发表于 2026-3-15 02:24
+ K5 f& g3 o8 a' `7 e' D比特赛车按那阶梯节奏下居然收了390多,顺的时候这注码走得还挺稳啊
6 I  Z5 v8 Y0 L% U- r- j+ b& ]
楼主是个玩彩票的高手,非常让人羡慕的了
回复 支持 反对

使用道具 举报

7

主题

1万

回帖

7676

金币

千足金牌会员

积分
58689

老会员光影行者

发表于 2026-3-15 06:32 | 显示全部楼层
节奏控制得不错,390的收益确实让人心里舒坦,这个下注模式挺稳的
回复 支持 反对

使用道具 举报

0

主题

2644

回帖

5186

金币

银牌会员

积分
18176
发表于 2026-3-15 06:56 | 显示全部楼层
比特赛车这节奏居然能捞到390多?100起步一步步加居然没翻船,手气是真顺啊,羡慕了
回复 支持 反对

使用道具 举报

0

主题

2644

回帖

5186

金币

银牌会员

积分
18176
发表于 2026-3-15 06:57 | 显示全部楼层
思维认知 发表于 2026-3-15 02:24
8 `8 ]- o* `% Y比特赛车按那阶梯节奏下居然收了390多,顺的时候这注码走得还挺稳啊
2 J( }( Q; \1 e, f6 y( i
比特赛车那阶梯节奏居然稳收390多,顺的时候注码走得还挺舒服,看来摸对节奏是真省心,不像有时候瞎搞乱飘
回复 支持 反对

使用道具 举报

2472

主题

8万

回帖

4750

金币

海燕硕士

积分
225323

老会员超级精华精华勋章美女勋章勤奋勋章交易勋章万时之王

发表于 2026-3-15 07:22 | 显示全部楼层
彩票可以赚到这么多的钱也不容易
回复 支持 反对

使用道具 举报

2472

主题

8万

回帖

4750

金币

海燕硕士

积分
225323

老会员超级精华精华勋章美女勋章勤奋勋章交易勋章万时之王

发表于 2026-3-15 07:22 | 显示全部楼层
NO.2 发表于 2026-3-15 06:57& _. P  {7 l  E3 x/ M3 f5 {& c
比特赛车那阶梯节奏居然稳收390多,顺的时候注码走得还挺舒服,看来摸对节奏是真省心,不像有时候瞎搞乱 ...

$ ?% S' U0 L& e# i5 D有个好的节奏才能稳定的搞钱来的呀
回复 支持 反对

使用道具 举报

2472

主题

8万

回帖

4750

金币

海燕硕士

积分
225323

老会员超级精华精华勋章美女勋章勤奋勋章交易勋章万时之王

发表于 2026-3-15 07:22 | 显示全部楼层
cwx1994 发表于 2026-3-15 05:48
: L% i3 Q# p5 ^楼主是个玩彩票的高手,非常让人羡慕的了

$ t! v5 N" s2 z, E% U确实也算一个高手吧,这样才能赚到钱
回复 支持 反对

使用道具 举报

2472

主题

8万

回帖

4750

金币

海燕硕士

积分
225323

老会员超级精华精华勋章美女勋章勤奋勋章交易勋章万时之王

发表于 2026-3-15 07:22 | 显示全部楼层
123 发表于 2026-3-14 20:06; _6 p) j6 L! p% o! Q3 |
还是楼主高啊,这场令人满意

& J3 w' g* u5 E5 ~, O: T& ~也没有什么好羡慕的吧,几百块钱而已
回复 支持 反对

使用道具 举报

您需要登录后才可以回帖 登录 | 立即注册

本版积分规则

广告合作|福利汇|论坛简介|钱包教程|手机版|小黑屋|Archiver|海燕论坛

快速回复 返回顶部 返回列表