找回密码
 立即注册
澳门威尼斯人
U8
U18
海燕招商
A
蓝盾
e世博
islot.
申博亚洲
澳门银河
B
腾博会
德信
C级广告商
吉祥坊
查看: 38253|回复: 82

[彩票] 【实战有奖】今天到腾博会玩彩票输了60大洋

[复制链接]

1214

主题

3万

回帖

543

金币

铂金用户

积分
93233

老会员交易勋章光影行者

发表于 2025-10-29 20:59 | 显示全部楼层 |阅读模式

马上注册,结交更多好友,享用更多功能,让你轻松玩转社区。

您需要 登录 才可以下载或查看,没有账号?立即注册

×
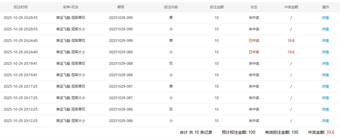
    今天到了腾博会去玩了彩票。还是选择了幸运飞艇这个游戏。可惜的是,昨天我赢了近40块,今天却输了60块,也是太无奈的啊。. {( n1 Y% K8 E0 P' i' ^
  Q( S! C& q1 S! ]
     一开始,我是买了小和双了啊。觉得还是要赢的吧,下注了20大洋了啊。不过开奖结果出来,竟然是遇到了2黑的啊。一个都没有中。我的20大洋就输了啊。真是遗憾的啊。' z7 j4 }* T( ~6 {. Q/ i' c3 q
     第2期,我是去下注了小和单了 。每个下注了10大洋了。可是结果出来了。竟然还是2黑了啊。我的运气感觉也是太糟糕了。竟然25%的概率连续出现了。这样我就输了40大洋出去了啊。/ i. l3 d# b, B& Y5 ~, L
     第3期,我又买了小和双。我以为这次总要赢了吧。下注了每个10元的啊。但是结果出来,竟然还是2黑了。我简直是无语了啊。那么小的概率竟然3次让我遇到啦 。太悲剧了啊。
' O8 c' x/ y# K9 V5 q$ \     第4期,没有办法,我还是要继续。我就想看看我到底要输几期。这期我买了小和单各10元。这次算幸运了啊。结果出来,真的是小单了啊。于是我就赢了20大洋了啊。算是搬了一点回来。
; f% h; B9 c5 L% |& l3 f3 d     第5期,我就继续下注小和单,想再搬一点本。不料,这次结果出来,我又遇到了2黑了。实在是太无奈了。今天不是2黑就是2红,黑的多出了3期来,所以我的亏损就是60大洋了啊。实在是很悲催了啊。我是很不开心的啊。
: N$ B+ B; f' e5 {5 T" P. K$ b    0.JPG
! h2 X3 h( t% a2 M# O6 Y
回复

使用道具 举报

102

主题

6390

回帖

2606

金币

金牌会员

积分
20822

老会员

发表于 2025-10-29 21:10 | 显示全部楼层
楼主的战绩不是很理想的结局,能止损做的非常不错
回复 支持 反对

使用道具 举报

618

主题

1万

回帖

5852

金币

千足金牌会员

积分
41411

老会员

发表于 2025-10-29 22:18 | 显示全部楼层
这战绩啊确实没达到理想效果,实是有些可惜,希望下次能挽回损失的60大洋
回复 支持 反对

使用道具 举报

3400

主题

4万

回帖

4130

金币

钻石用户

积分
116741

万时之王老会员勤奋勋章交易勋章

发表于 2025-10-29 23:01 | 显示全部楼层
所幸只是输六十, 不算多了, 这点亏损也是可以承受得起了, 影响不了大局
回复 支持 反对

使用道具 举报

3400

主题

4万

回帖

4130

金币

钻石用户

积分
116741

万时之王老会员勤奋勋章交易勋章

发表于 2025-10-29 23:01 | 显示全部楼层
一路前行 发表于 2025-10-29 22:18
$ F2 o& [  j1 m; }7 T& S这战绩啊确实没达到理想效果,实是有些可惜,希望下次能挽回损失的60大洋 ...
( H% [- y7 O' u+ v  z
玩菠菜都是有风险的, 输赢很正常了, 输不多, 也是不必计较的了
回复 支持 反对

使用道具 举报

3400

主题

4万

回帖

4130

金币

钻石用户

积分
116741

万时之王老会员勤奋勋章交易勋章

发表于 2025-10-29 23:02 | 显示全部楼层
易天一人 发表于 2025-10-29 21:10
: }5 d1 o, o- x. e- i3 ^- e, v楼主的战绩不是很理想的结局,能止损做的非常不错
3 N. e* K9 R2 x$ w; j! m
彩票运气不行, 也是可以尝试下别的游戏了, 说不定能够峰回路转了。
回复 支持 反对

使用道具 举报

1592

主题

8万

回帖

1万

金币

海燕硕士

积分
250932

万时之王老会员精华勋章勤奋勋章交易勋章光影行者

发表于 2025-10-30 06:27 | 显示全部楼层
这一次输钱了,还是非常可惜的事情还是非常让人不满意的结果了。
回复 支持 反对

使用道具 举报

1592

主题

8万

回帖

1万

金币

海燕硕士

积分
250932

万时之王老会员精华勋章勤奋勋章交易勋章光影行者

发表于 2025-10-30 06:27 | 显示全部楼层
莫扎特06 发表于 2025-10-29 23:01
7 M1 M3 d+ |' y玩菠菜都是有风险的, 输赢很正常了, 输不多, 也是不必计较的了
! v; g+ K: k8 K3 p' i9 I
感觉是有很大的风险了,我们都是非常不喜欢输钱的结果了。
回复 支持 反对

使用道具 举报

1592

主题

8万

回帖

1万

金币

海燕硕士

积分
250932

万时之王老会员精华勋章勤奋勋章交易勋章光影行者

发表于 2025-10-30 06:28 | 显示全部楼层
莫扎特06 发表于 2025-10-29 23:02; i( I' i& v" P$ x
彩票运气不行, 也是可以尝试下别的游戏了, 说不定能够峰回路转了。
+ s* L. k: u( ?/ }7 S5 u2 R
还是可以换个游戏试试的,希望是可以能够赢钱的结果吧。
回复 支持 反对

使用道具 举报

63

主题

4万

回帖

1674

金币

钻石用户

积分
125036

万时之王老会员勤奋勋章交易勋章光影行者

发表于 2025-10-30 06:50 | 显示全部楼层
遗憾的输了一天的伙食费了,也是太难了,不好搞了,郁闷的结果了,难受的!
回复 支持 反对

使用道具 举报

63

主题

4万

回帖

1674

金币

钻石用户

积分
125036

万时之王老会员勤奋勋章交易勋章光影行者

发表于 2025-10-30 06:50 | 显示全部楼层
cwx1994 发表于 2025-10-30 06:27
, X3 I4 K5 ~6 F/ e) N$ u感觉是有很大的风险了,我们都是非常不喜欢输钱的结果了。

9 b# u+ T9 O* U$ [. X确实是有风险,这就是BC,真的是美誉哦办法了,现实比较残酷了,不好搞的!
回复 支持 反对

使用道具 举报

63

主题

4万

回帖

1674

金币

钻石用户

积分
125036

万时之王老会员勤奋勋章交易勋章光影行者

发表于 2025-10-30 06:51 | 显示全部楼层
莫扎特06 发表于 2025-10-29 23:01
9 K) \& H4 x. J' I( m" q) ]1 |& T玩菠菜都是有风险的, 输赢很正常了, 输不多, 也是不必计较的了
! g- \* Z9 d5 g, D
输赢正常,但是要做到控制好自己,那确实是没有啥大问题就好的了!
回复 支持 反对

使用道具 举报

1852

主题

6万

回帖

2810

金币

钻石用户

积分
177060

万时之王老会员勤奋勋章交易勋章

发表于 2025-10-30 06:55 | 显示全部楼层
易天一人 发表于 2025-10-29 21:10) w8 H( G8 K. w( J$ L- Z- K
楼主的战绩不是很理想的结局,能止损做的非常不错

% E+ Z' q6 Y% Z2 s3 w% {$ m这一次的结果是真的不理想啊这样的结果也是真的悲剧了
% ?8 t5 c$ b, d. k! V% b
回复 支持 反对

使用道具 举报

1852

主题

6万

回帖

2810

金币

钻石用户

积分
177060

万时之王老会员勤奋勋章交易勋章

发表于 2025-10-30 06:55 | 显示全部楼层
cwx1994 发表于 2025-10-30 06:27) E' E0 h; I! L5 F
这一次输钱了,还是非常可惜的事情还是非常让人不满意的结果了。
0 Z9 \  O6 k, e$ c( ?, N. n
这个结果确实是比较可惜的了只能希望下一次是可以好运气
& ~) d- g& _  u6 d0 A# E" l
回复 支持 反对

使用道具 举报

1852

主题

6万

回帖

2810

金币

钻石用户

积分
177060

万时之王老会员勤奋勋章交易勋章

发表于 2025-10-30 06:55 | 显示全部楼层
这样的结果当然是遗憾的了这个只能希望下一次能够赢回来吧
, ?7 {% N2 l5 y$ P% W7 ~( ?7 H2 m
回复 支持 反对

使用道具 举报

您需要登录后才可以回帖 登录 | 立即注册

本版积分规则

广告合作|福利汇|论坛简介|钱包教程|手机版|小黑屋|Archiver|海燕论坛

快速回复 返回顶部 返回列表