找回密码
 立即注册
澳门威尼斯人
U8
U18
海燕招商
A
蓝盾
e世博
islot.
申博亚洲
澳门银河
B
腾博会
德信
C级广告商
吉祥坊
查看: 26598|回复: 74

[彩票] 【实战有奖】威尼斯人台湾宾果连挂后稳收,亏损2450止步

[复制链接]

94

主题

2万

回帖

3262

金币

铂金用户

积分
74573

老会员交易勋章魅力达人

发表于 2025-10-6 16:17 | 显示全部楼层 |阅读模式

马上注册,结交更多好友,享用更多功能,让你轻松玩转社区。

您需要 登录 才可以下载或查看,没有账号?立即注册

×
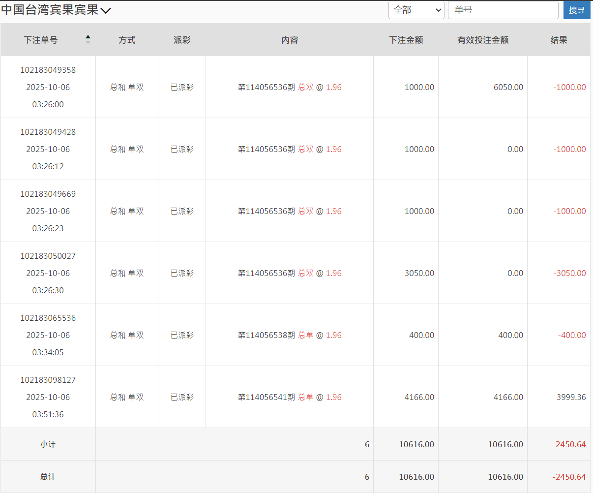
今天下午打了台湾宾果这一轮,整体过程挺曲折,但也算控制住了节奏。大概从下午三点左右开始进场,当时看走势总和“双”连开几期,手痒了,于是轻仓试单。原本打算随便玩玩,结果越看越不对劲,单双频繁切换,让人有点摸不清节奏。, f. h/ _. J9 u) W& K% B( k: ^1 E0 i$ o
2 G! N" _* e! [. t
这轮总共下了六单,前几把基本都在试探走势。结果连续几期都反着来,尤其是那笔3050的“总双”,被直接吃掉,账面一口气红到三千多。那一瞬间心态确实有点晃,手差点又去补仓。后来想到之前吃亏的经验,强行让自己停手,看完那期结果就去洗了个脸。
8 E0 ^! E. B+ ]; P" w. S2 I- h7 p* X; b. P
回来后重新看走势图,发现节奏有点回稳,于是再上两把“总单”试水。最后一单我加到4166,打的第114056541期,终于中回来了3999.36,这口气算是稳了。整盘下来,亏了2450左右,折合人民币不到两千。2 l* q4 O& V: x" ?$ O+ d# z

8 f$ A$ x/ t( e& I, l* V4 E# G账面上虽然是负的,但我个人觉得这轮打得比前几次更“成熟”——不是赢多少的问题,而是我终于没再乱追。这次BBIN那边转入了10616,转出回大厅时剩8165,虽然账面亏损,但过程有节制、心态稳,算是一次小考合格。2 L0 D, u4 C, Q# L

2 s+ x2 D1 l* i过去我常常一看挂单就想加码“赢回来”,结果反而输更惨。现在我学会了一件事:赢钱靠机会,止损靠自律。只要不被情绪带走,长期来看反而能少损多赢。9 K2 C1 C# N. h9 }' l/ n; k
* a$ ^/ `/ m0 L" z5 E0 K
另外,这轮台湾宾果的走势挺诡异的,总和单双跳得快,没有出现连续7期以上的连号。下午那段时间尤其乱,建议后面玩这盘口的兄弟们注意节奏,不要被短线结果误导。可以像我这样——前几期用小注探路,等走势方向稳定后再加码。% Q( [) s; p" W# Y3 Z
5 a& F& s9 b3 s3 a/ ~/ \6 k9 E0 N
这次我还特地看了下注明细,总金额10616,有效投注全打满,亏损-2450.64。虽然是红的,但我反而挺高兴,因为这说明我守住了底线:没追加、没爆仓。
& }5 M  T6 ?9 r/ h  Y5 n9 }4 u( e$ y0 G1 c: C
最后总结一句:1 h% d6 p7 B; q! `0 C; l3 g
输钱不可怕,乱输才可怕;稳得住,才是真正的赢。/ J% f: |8 E' g
6 s% T. S' E8 r+ G
这两天论坛不少人也在分享台湾盘的节奏,我的经验是——宁可打慢,也不要乱节奏。未来几天我会继续观察走势,等连号或规律性区间出来,再考虑加仓。今天就到这,休息一会,晚上再看情况。
  v$ j4 P- \* H* V
# A" n! e: h* b, ~2 ? QQ20251006-160203.png QQ20251006-160102.png   l2 r7 T* ^, A* X; s/ y0 p! M
8 K! R/ @' T/ T1 ~8 J: y

, K6 s2 B9 Q0 r6 q
回复

使用道具 举报

1

主题

4994

回帖

4198

金币

金牌会员

积分
23389

老会员

发表于 2025-10-6 16:22 | 显示全部楼层
楼主亏损了还是要止损,回血了一大半还是挺不错了
回复 支持 反对

使用道具 举报

197

主题

6859

回帖

148

金币

银牌会员

积分
13995

老会员交易勋章

发表于 2025-10-6 17:56 | 显示全部楼层
你还玩这个啊,我是真没玩过这类彩票,是彩票没错吧,止损做到位就好
回复 支持 反对

使用道具 举报

8

主题

2万

回帖

6200

金币

铂金用户

积分
73828

光影行者

发表于 2025-10-6 19:37 | 显示全部楼层
3050那把真够呛,能忍住不补仓已经赢一半,节奏乱时洗脸是个好招
回复 支持 反对

使用道具 举报

3400

主题

4万

回帖

4130

金币

钻石用户

积分
116741

万时之王老会员勤奋勋章交易勋章

发表于 2025-10-6 19:48 | 显示全部楼层
老哥还是低调点吧, 亏损2450, 也是输太多了, 还是要及时收手,真不敢继续了
回复 支持 反对

使用道具 举报

3400

主题

4万

回帖

4130

金币

钻石用户

积分
116741

万时之王老会员勤奋勋章交易勋章

发表于 2025-10-6 19:49 | 显示全部楼层
蔬菜沙拉 发表于 2025-10-6 19:37
! ~* O2 `: `# k3 Z- k+ [$ K. e3050那把真够呛,能忍住不补仓已经赢一半,节奏乱时洗脸是个好招
1 e, @3 i8 p  z2 K6 m
玩菠菜还是量力而行吧, 别玩太大了, 输太多了, 也是很影响心情了。
回复 支持 反对

使用道具 举报

3400

主题

4万

回帖

4130

金币

钻石用户

积分
116741

万时之王老会员勤奋勋章交易勋章

发表于 2025-10-6 19:49 | 显示全部楼层
二电厂哥 发表于 2025-10-6 17:56: Q/ b, Z# w, a- t1 ?
你还玩这个啊,我是真没玩过这类彩票,是彩票没错吧,止损做到位就好
# Y0 e1 l& \% X& B
亏损了2450也是输太多了, 这钱能干很多事的了啊, 也是很遗憾了。
回复 支持 反对

使用道具 举报

3400

主题

4万

回帖

4130

金币

钻石用户

积分
116741

万时之王老会员勤奋勋章交易勋章

发表于 2025-10-6 19:50 | 显示全部楼层
shunlifeiup 发表于 2025-10-6 16:22
3 e3 v7 T& z3 T9 Y1 Z6 W: u楼主亏损了还是要止损,回血了一大半还是挺不错了

$ m) k0 f. R& u0 W5 F损失惨重了呀, 输了这么多, 想回血都是很困难了啊, 还是休息冷静一下吧。
回复 支持 反对

使用道具 举报

383

主题

1563

回帖

2749

金币

铜牌用户

积分
9770

老会员交易勋章

发表于 2025-10-6 21:07 | 显示全部楼层
能够及时做到止损啊 还是很不容易的   及时调整吧!
回复 支持 反对

使用道具 举报

52

主题

2万

回帖

8026

金币

铂金用户

积分
86824

老会员光影行者

发表于 2025-10-7 02:34 | 显示全部楼层
别急着追,理性把握,稳住节奏,总会有赚钱的时候,节制至关重要
回复 支持 反对

使用道具 举报

52

主题

2万

回帖

8026

金币

铂金用户

积分
86824

老会员光影行者

发表于 2025-10-7 02:34 | 显示全部楼层
蔬菜沙拉 发表于 2025-10-6 19:37
' I) R8 e4 G0 c1 `. T3 ?- ~0 u8 M0 x3050那把真够呛,能忍住不补仓已经赢一半,节奏乱时洗脸是个好招
( U2 e# b. O% B. ^1 L
3050那把确实有点狼狈,不过威尼斯人台湾宾果稳住节奏,亏损2450也算是及时止损
回复 支持 反对

使用道具 举报

2482

主题

8万

回帖

5349

金币

海燕硕士

积分
226892

老会员超级精华精华勋章美女勋章勤奋勋章交易勋章万时之王

发表于 2025-10-7 05:46 | 显示全部楼层
输掉了2000多块能够止损离开也是比较理智的一个人吧
回复 支持 反对

使用道具 举报

2482

主题

8万

回帖

5349

金币

海燕硕士

积分
226892

老会员超级精华精华勋章美女勋章勤奋勋章交易勋章万时之王

发表于 2025-10-7 05:46 | 显示全部楼层
whywhy 发表于 2025-10-7 02:34
1 q. G2 c! E0 N/ k4 W/ M4 Q& B3050那把确实有点狼狈,不过威尼斯人台湾宾果稳住节奏,亏损2450也算是及时止损 ...
3 W8 w+ N, U  c# I( t/ L7 D
反正自己的节奏要把握好,不然输的就是自己的钱
回复 支持 反对

使用道具 举报

2482

主题

8万

回帖

5349

金币

海燕硕士

积分
226892

老会员超级精华精华勋章美女勋章勤奋勋章交易勋章万时之王

发表于 2025-10-7 05:46 | 显示全部楼层
whywhy 发表于 2025-10-7 02:34
( }+ }5 y2 I) Q2 m3 n别急着追,理性把握,稳住节奏,总会有赚钱的时候,节制至关重要

# e$ w3 k/ t6 U7 u# s% P  z这个节奏导致的亏损也是没有办法的事,毕竟输了这么多
回复 支持 反对

使用道具 举报

2482

主题

8万

回帖

5349

金币

海燕硕士

积分
226892

老会员超级精华精华勋章美女勋章勤奋勋章交易勋章万时之王

发表于 2025-10-7 05:46 | 显示全部楼层
莫扎特06 发表于 2025-10-6 19:49
+ l; ]  D5 @' T% ?亏损了2450也是输太多了, 这钱能干很多事的了啊, 也是很遗憾了。

4 A4 Y+ x; ?- y输的太多也是要想办法把它搞回来,不然也是难受
回复 支持 反对

使用道具 举报

您需要登录后才可以回帖 登录 | 立即注册

本版积分规则

广告合作|福利汇|论坛简介|钱包教程|手机版|小黑屋|Archiver|海燕论坛

快速回复 返回顶部 返回列表